| 一、概述 |
適用于以油、水、氣為介質的管道固定用塑料管夾。工作溫度為-5~+100℃。
A 系列管夾適用于中壓、低壓(PN≤8MPa)管道的固定;B系列管夾及B系列Ⅰ型組合安裝管夾適用于中高壓、高壓(PN≤31.5MPa)管道的固定。 |
 |
|
| 二、外形尺寸 |
| 1.1 A系列管夾的型式和尺寸見圖1和表1。 |
|
| 表1 |
型式 |
管子
外徑
Do |
A |
A1 |
C |
H |
H1 |
h |
螺栓 |
重量
kg≈ |
型式 |
管子
外徑
Do |
A |
A1 |
C |
H |
H1 |
h |
螺栓 |
重量
kg≈ |
d |
L |
d |
L |
I |
6 |
28 |
33 |
- |
32 |
19 |
6 |
M6 |
20 |
0.06 |
II |
20 |
48 |
53 |
33 |
42 |
24 |
6 |
M6 |
30 |
0.14 |
8 |
22 |
10 |
25 |
12 |
28 |
70 |
75 |
52 |
64 |
35 |
50 |
0.19 |
II |
6 |
34 |
39 |
20 |
0.08 |
30 |
8 |
32 |
10 |
34 |
12 |
40 |
14 |
40 |
45 |
26 |
40 |
23 |
25 |
0.12 |
42 |
16 |
48 |
86 |
91 |
66 |
72 |
39 |
60 |
0.22 |
18 |
50 |
| 注:靜壓油臘潤滑管路,壓力至10MPa,仍可選用A系列管夾。 |
|
| 1.2 B 型管夾的型式和尺寸見圖2 和表2 |
|
| 表2 |
型式 |
管子
外徑
Do |
A |
A1 |
B |
B1 |
C |
H1 |
H2 |
h |
s |
螺紋 |
重量
kg≈ |
d |
L |
I型 |
II型 |
I、
II |
10、12 |
55 |
73 |
30 |
60 |
33 |
48 |
24 |
8 |
2 |
M10 |
45 |
0.3 |
0.6 |
14、16 |
18、20、22 |
70 |
85 |
45 |
64 |
32 |
60 |
0.4 |
0.8 |
25、28 |
30、32、34 |
84 |
100 |
60 |
76 |
38 |
70 |
0.5 |
1.0 |
40、42 |
48、50、57 |
115 |
150 |
45 |
90 |
90 |
110 |
55 |
10 |
3 |
M12 |
100 |
1.8 |
3.6 |
60、63.5 |
76、89 |
152 |
200 |
60 |
120 |
122 |
140 |
70 |
3.5 |
M16 |
130 |
2.5 |
5.0 |
102、108 |
205 |
270 |
80 |
160 |
168 |
200 |
100 |
15 |
4.5 |
M20 |
190 |
5.5 |
11 |
114、127 |
138、140 |
250 |
310 |
90 |
180 |
205 |
230 |
115 |
M24 |
220 |
8 |
16 |
159、168 |
|
注:當管路介質壓力較高時,可選用B系列I型和II型,但需縮小相鄰管夾間距。 |
|
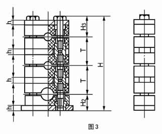
1.2.1 B 型系列Ⅰ型組合安裝夾的型式和尺寸見圖3 和表3。
a)同一外形尺寸的B 型系列Ⅰ型管夾,可疊壘成組成安裝,但最多不超過5 根管子。 |
|
表3 mm |
管子外徑
Do |
10 |
12 |
14 |
16 |
18 |
20 |
22 |
25 |
28 |
32 |
34 |
40 |
42 |
48 |
50 |
57 |
60 |
63.5 |
76 |
89 |
102 |
108 |
114 |
127 |
133 |
140 |
159 |
168 |
H3 |
31 |
39 |
45 |
63 |
80 |
113 |
130 |
T |
40 |
56 |
68 |
100 |
130 |
185 |
215 |
|
b)尺寸計算 H=H2+H3+(N-1)·T
式中:N ——管子根數:
T ——相鄰管距(見表3),mm;
H2、H3見表2和表3
◎注:組合安裝管夾的每組重量可近似按(N-0.5)乘以表2中的單件重量。
2.1 標記說明
A 系列Ⅰ型、管子外徑為12mm的塑料管夾:
塑料管夾A(Ⅰ)12 JB/ZQ4008-97
B 系列Ⅱ型、管子外徑為28mm 的塑料管夾;
塑料管夾B(Ⅱ)28 JB/ZQ4008-97
B 系列Ⅰ型組合疊裝、管子外徑為22mm的3根、管子外徑為28mm的2根的塑料管夾;
塑料管夾B(Ⅰ)22×3-28×2JB/ZQ4008-97
三、管夾承載能力
(A1,A2 及圖A1,圖A2)
A1 表示方法:管夾承受管子軸向力的能力大小,用曲線圖表示。
A2 具體內容:圖A1 用于“A 系列管夾”;圖A2 用于“B 系列Ⅰ型管夾”。a 曲線表示管夾與管子處于“靜摩擦狀態(tài)”時,管子外徑尺寸與管夾承受管子軸向力的函數關系。b曲線表示管夾與管子處于“動摩擦狀態(tài)”時,管子外徑尺寸與管夾承受管子軸向力及轉矩的函數關系。 |
|
四、安裝說明(B1~B3)
B1 管夾底板采用焊接法固定在焊接板、鋼梁、軌道上。應注意焊接板、鋼梁、軌道的固定必須牢靠,其所受負荷要保持在允許范圍內(參考圖A1、A2)
B2 安裝時,相鄰管夾的間距,應保持在1-3m 的距離。
B3 管路安裝時,在彎管處其弧形部分之后,就應安裝管夾。(見圖B1)。 |
 |
|